Porsche’s Humiliation vs. China’s Counterattack: “Who is Copying Whom?” A Shocking Reversal in the Luxury Market
“Porsche copying a Chinese EV?” Just a few years ago, this sentence would have been unimaginable. However, in today’s automotive market—especially within China—this suspicion is being accepted as an open secret.
Recently, a new patent filed by Porsche regarding a “Front Trunk” (Frunk) design has sparked controversy for allegedly copying a feature from the new Chinese brand Onvo (Ledao). This goes beyond a simple design dispute; it is a symbolic event illustrating the brutal shift in the market where a 100-year-old luxury legacy is forced to chase after a newcomer to survive.
Today, we will deeply analyze the financial crisis of luxury brands hiding behind Porsche’s “copycat controversy,” and what the bizarre “option war” in the Chinese EV market truly signifies.
1. Porsche Swallows Its Pride: “Isn’t This a 2-Year-Old Idea?”

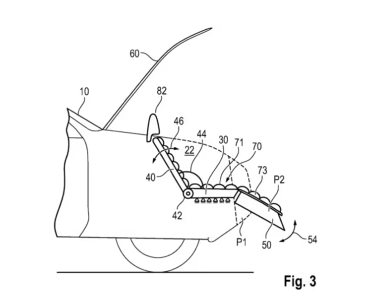
Porsche’s recent patent application for a sliding frunk mechanism has become a hot potato among Chinese netizens. Many reacted immediately: “Isn’t this the exact same function found in the Onvo L60?”
In reality, this concept was proposed two years ago by innovative EV brands like Lucid. In the past, when faced with design similarities, Porsche would leisurely respond with phrases like “Great minds think alike.” But the situation is different now. This move signals that Porsche is essentially admitting it is no longer the “Creator” leading the market, but has become a “Follower” scrambling to catch up with trends.

2. The Crisis in Numbers: Q3 Profit Crash and Desperate Measures
There is a clear reason why Porsche is risking its reputation with such moves: Disastrous Financial Performance.
- Q3 Earnings Shock: Porsche’s operating profit in the third quarter plummeted to a shocking degree compared to the previous year (reports indicate a near 99% drop in specific metrics).
- Declining Market Share: Traditional luxury giants, including Mercedes-Benz, BMW, and Audi (BBA), are seeing their market share in China evaporate year by year.
As the Chinese saying goes, “When you are critically ill, you will see any doctor” . Porsche, under immense pressure from earnings reports, has no time to protect its ego; it is in a desperate situation where it must adopt whatever features work in the Chinese market.

3. The Double Standard: “Gimmick if China Does It, Innovation if Imports Do It?”
Here, we discover an interesting “Double Standard.”
When Chinese domestic cars release inventive features, they are often criticized as “useless gimmicks” or “tacky.” However, when imported brands introduce similar features, they are praised as “user-friendly” or “innovative.” This is a prejudice born from the old stereotype: “Import = Premium, Domestic = Cheap.”
But looking at reality coldly, in terms of imagination and execution, Porsche is currently lagging behind Chinese EVs.
[Bizarre Options in Chinese EVs]
- Multi-functional Space: Center console cup holders transforming into tea tables.
- Mobile Kitchen: Induction cooktops built directly into the trunk.
- Lifestyle Integration: In-car shower options, and even “floor heating” systems.
These features might seem excessive at first glance, but they leave a strong impression on consumers, maximizing the “livability” of the vehicle.

4. Why Are They Obsessed with ‘Crazy Options’? : The Battlefield of ‘Neijuan’
The fundamental reason Chinese automakers are obsessed with these features lies in the market environment.
- Immature Zero-Sum Game: The current Chinese auto market lacks the order or cycles of a mature industry. It is a zero-sum battlefield where “I must kill you to live.”
- Differentiation for Survival: With weak brand heritage, they faced the massive wave of EV transition. If they don’t offer something no one else has, or something flashier, they can’t even catch the consumer’s eye.
In short, the flashy options of Chinese cars are not just for showing off, but a result of a survival instinct that says, “Stand out or die.”
Conclusion: The Era of ‘Mutual Learning,’ Not Copying
The debate over “who copied whom” is now becoming meaningless. If there was an era where Chinese cars learned chassis tuning and design from Western imports, now Western imports are reverse-learning smart cockpits, driving assistance systems, and inventive convenience specs from China.
Porsche adopting a Chinese feature is not a humiliation; it is an admission by a luxury brand that “The Chinese approach hit the user’s needs right on the mark.” It is a process of market convergence and progress.
However, one cold question remains: “So, would you buy that car because of those flashy options?”
The answer might be “No.” Why? Because we have a more comfortable ‘house’ where we can cook and shower. We must remember that while technology advances, the fundamental needs of consumers do not change easily.